
JustG 主机测评 - 南非云服务器怎么样?CN2线路到非洲怎么走的,网络速度快不快?南非VPS简单测评
JustG 专营CN2 GIA 线路南非VPS,也提供莫斯科和东京的独立服务器,为出海非洲外贸提供助力。那么南非云服务器怎么样?CN2线路到非洲怎么走的,网络速度快不快?
网联基地「WebUnion BASE」 就对南非VPS简单测评。
选购指引
站内链接
JustG 优惠折扣
中国电信CN2 GIA线路南非VPS,稀缺资源最低6美刀/月
测评总结
从 网联基地「WebUnion BASE」 实测结果来看,中国地区用户选择东京和莫斯科都不会慢,南非VPS虽然速度一般,但其资源稀缺性没法比,具体情况可从我们整理的测试节点列表自行测试,根据实际效果做出最优选择。
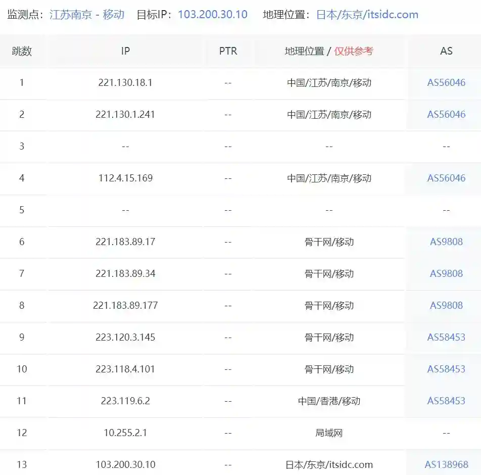
全网PING值延迟
南非VPS虽然也是CN2线路,但是速度一般。



三网去程路由
JustG 现有的3个机房中,日本东京机房速度最优,都走的骨干网拉直,相应的价格不便宜。









莫斯科IP非原生,数据库被识别为美国IP,电信和联通经CN2 线路,移动绕道美国。
南非约翰内斯堡VPS其次,虽然也走的CN2 线路,但毕竟硬件水平有差异,表现一般。
测试VPS列表
| 位置 | IP | 下载测速 |
|---|---|---|
| 日本东京 | 103.200.30.10 2404:b8c0:0000:0001:0000:0000:01b7:a96b |
100M |
| 俄罗斯莫斯科 | 45.150.236.107 2a0f:9a00::216:3eff:fee9:3a5f |
1G |
| 南非约翰内斯堡 | 102.223.74.212 2a0c:0640:0000:0001:0000:0000:363b:9b95 |
500M |
服务商信息
AFRICA CLOUD / SUNETWORK is named after our vision to support businesses and individuals across Africa.
With most of the planet now operating online, it’s absolutely essential to establish an online presence. It is the best way to market yourself or your business.
成立于2020年的南非主机商,主营南非及欧洲云服务器主机,提供南非服务器、德国VPS、美国VPS、莫斯科独立服务器大盘鸡和日本东京VPS产品。
站内链接
JustG - 南非VPS独立服务器主机商,专营CN2 GIA线路云服务器
市面上比较少见非洲VPS,JustG 刚好就提供了南非VPS,走的CN2线路,虽然速度一般但好在资源有一定的稀缺性
本文是原创文章,采用CC BY-NC-SA 4.0协议,完整转载请注明来自网联基地[WebUnion BASE]
评论 ()
