
SolaDrive - 家宽独立IP怎么样?美国西雅图住宅IP网络性能评测
SolaDrive 主营美国西雅图的家庭住宅IP的纯正美国VPS,支持Linux和Windows系统,对于想选一款适合做美国亚马逊、美洲eBay的外贸人来说,比较关心SolaDrive 提供的美国家宽住宅独立IP怎么样。
网联基地「WebUnion BASE」就来对美国西雅图住宅IP网络性能进行简单评测。
选购指引
站内链接
SolaDrive - 适合做美国电商的美国VPS 2核2G2TG口带宽独立家宽住宅IP $25/月
10 Residential VPS 打包售卖 $195/月
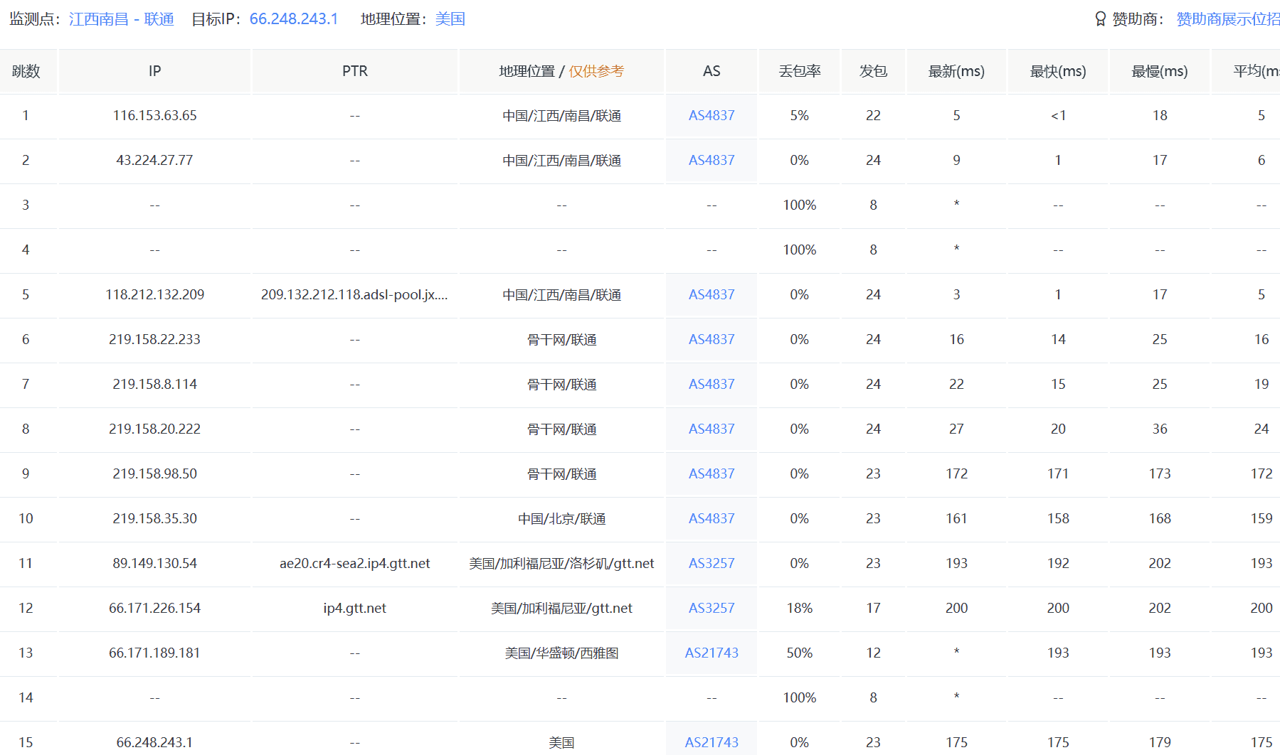
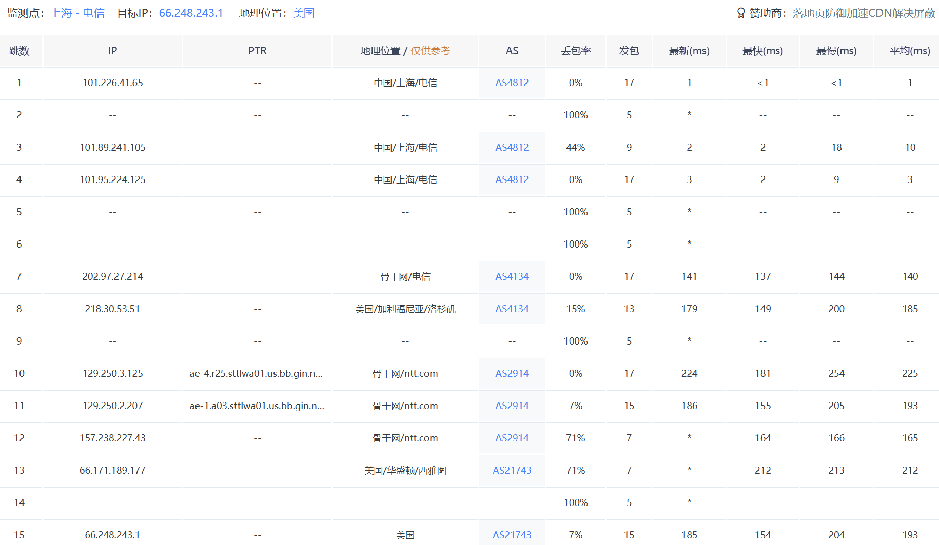
全网PING值延迟
从全网节点测试可见,从中国地区到测试服务器的网络延迟还不错,都在200ms左右,能满足操作远程桌面电脑的要求。

IP信息定位

文件下载测速
在高峰期,中国联通线路下载家宽住宅IP美国VPS上的文件,下载工具IDM多线程速度测试带宽大约30m,如果测试大文件应该能继续升高速度。


三网路由情况
如果不是用来做网络代理服务器,就基本上不用关心路由这些了,只是作为专业人士的一个参考,路由走向长短也不完全是影响速度的决定因素。



服务商信息
SolaDrive 于2009年初开始提供服务,并于2010年11月开始涉足在线业务,为中小型企业提供托管VPS和专用服务器。SolaDrive 是一家专门经营海外家宽(Residential IP VPS)机房的主机商,提供多个节点的VPS云服务器及独立服务器产品,主要集中在美国西海岸和东南亚新加坡。
站内链接
SolaDrive - 美国家宽住宅IP云服务器/独立服务器主机商
如果您正在美国寻找住宅IP,SolaDrive 在华盛顿州西雅图的独特专用和虚拟服务器可以满足需求。通过远程桌面电脑或者搭建代理服务器将会识别为美国家庭住宅IP地址,一些应用会明显优于IDC机房IP。
本文是原创文章,采用CC BY-NC-SA 4.0协议,完整转载请注明来自网联基地[WebUnion BASE]
评论 ()